
KYN28-12型中置柜(铠装中置式金属封闭开关设备)概述:
KYN28A-12型户内交流金属铠装中置式开关设备。它适用于三相交流额定电压12kV ,额定频率50Hz电力系统,用于接受和分配电能并对电路实行控制、保护及监测。
产品型号含义说明:
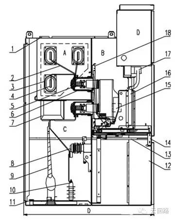
内部结构示意图:

A :母线室
B:断路器室
C:电缆室
D:仪表泄压装置
1. 泄压装置
2. 分支母线
3. 母线套
4. 主母线
5. 静触头
6. 静触头盒
7. 电流互感器
8. 接地开关
9. 电缆
10. 避雷器
11. 接地母线
12. 二次走线槽
13. 操作机构
14. 可抽出式隔板
15. 加热装置
16. 手车
17. 二次插头
18. 活门
上一条:中置柜与PT柜相互间的联系?
下一条:中置柜和环网柜的区别用途有哪些?